高剪切混合乳化机
射流式分散均质机
可移动式轻型搅拌机
HXF型搅拌釜
多功能混合机
HXL型螺条式混合机
静态混合器
SQS汽水混合器
SPS喷射混合器
分配器
管道型过滤器
袋式精细过滤器
SG视镜
GZB型阻火器
WX型呼吸阀
星形出料阀
全自动反冲洗过滤器
 
 
 
管线式高剪切混合乳化机
■ 产品简介
  管线式高剪切混合乳化机有三个系列。
  单级系列,二级系列,三级系列,可满足不同用户、不同工况、不同行业的分散、乳化、均质工艺要求,以及不同产量的要求,高剪切混合乳化机有如下特点:
  *具有连续大批量生产处理能力,无死角,粒径分布范围更窄,均匀更高、操作简便,可实现自动化作业。
  *结构紧凑,安装简便,占用空间小,运行稳定,噪音低。
  *工作腔内传动采用悬臂式,可实现轴向进料,径向出料。
  *可适用于高温、高粘度、大流量等工况如改性沥青、乳化沥青、纸浆分散、塑料、橡胶、环保等领域。
  *可选用的密封形式:机械密封、骨架密封、填料密封。
  *配上贮存罐可用于连续操作的串联式工艺过程,也可用于循环往复的工艺过程,这种设计保证了所有进入混合容器的物料在退出前都必须先通过精密配合的定子和转子的间隙,抽取能力之大足以将物料抽吸上来,再顺流下去不需辅助泵,特殊的单一或双重机械密封用于强烈的工艺过程。

   

 

HXG400A-1单级管线式高剪切混合乳化机
HXG400B-1单级管线式高剪切混合乳化机
  工作腔内装有一组定、转子,工作腔内传动轴采用悬臂式,传动轴与电机采取直联,密封形式一般采用机械密封,也可选用其他密封。
  适用于中、小批量循环处理生产工艺,建议与间歇式高剪切分散乳化机同时使用,处理效果更佳。
  特点:机械密封内置式,直接接触物料,适用于低粘度低温液体。
  工作腔内装有一组定、转子,工作腔内传动轴采用悬臂式,弹性联轴器将电机与轴承箱内的主轴联接,提高传动轴的运行质量,密封形式根据不同的工况来选择。
  适用于中、大批量循环处理生产工艺或高温作业工况,建议与间歇式高剪切分散乳化机同时使用,处理效果更佳。
  特点:机械密封外置式,不与物料接触,适用于中、高粘度物料。
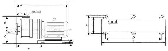
HXG400A-1,HXG400B-1系列管线式高剪切混合乳化机
■ 技术参数
型 号
功率kW
转速rpm
A
B
C
D
E
F
G
H
I
J
DN
K
DN
流量范围
m3/h
n-d
HXG401A-1
1.1
2900
575
90
180
150
20
300
220
280
250
32
25
0-1
4-F14
HXG403A-1
2.2
2900
575
90
180
150
20
300
220
280
250
40
32
0-3
4-F14
HXG405A-1
4
2900
743
137
224
182
25
400
320
375
346
50
40
0-5
4-F14
HXG410A-1
7.5
2900
743
137
224
182
25
400
320
375
346
50
40
0-8
4-F14
HXG415A-1
11
2900
864
140
250
190
25
480
405
420
380
65
50
0-12
4-F14
HXG420A-1
15
2900
916
140
250
190
25
480
405
420
380
65
50
0-18
4-F14
HXG430A-1
22
2900
986
140
270
190
15
550
475
450
410
65
50
0-25
4-F20
HXG450B-1
37
2900
1400
150
300
230
15
1300
1220
550
480
80
65
0-35
6-F20
HXG460B-1
45
2900
1485
150
325
240
15
1300
1220
590
520
100
80
0-50
6-F20
HXG475B-1
55
2900
1800
150
350
250
15
1500
1420
660
580
100
80
0-75
6-F24
HXG4100B-1
75
2900
1920
180
380
260
15
1500
1420
720
640
125
100
0-90
6-F24
注:表中流量范围是指介质为“水”时测定的数据,表中所列型号的出口压力≤0.2MPa。
  如采用循环工艺,建议与间歇式高剪切分散乳化机配合使用。
  如有高温、高压、易燃、易爆、腐蚀性等工况,必须明确提供相关准确的参数,以便正确选型定制。
  对流动性较差的介质,建议在入口处用流量相匹配的泵输送,泵入的压力≤0.2MPa。
  本表数据如有更改,恕不另行通知,正确参数以提供实物为准。

HXG400B-3系列管线式高剪切混合乳化机


  工作腔内从进料口到出料口依次有三组定、转子,物料进入后须经三组定、转子分散剪切后才能从出料口输出。
■ 技术参数
型 号
功率kW
转速rpm
A
B
C
D
E
F
G
H
I
J
K
流量范围
出口压力
HXG410-3
7.5
2920
1213
218
232
155
50
1120
1010
300
240
50
40
0.3-8
≤0.2
HXG415-3
11
2930
1365
242
293
180
50
1310
1100
350
230
80
65
0.5-12
≤0.15
HXG420-3
15
2940
1500
260
260
200
50
1420
1280
422
322
80
65
0.5-20
≤0.2
HXG430-3
22
2940
1605
290
260
206
50
1540
1340
422
322
80
65
1-30
≤0.2
HXG440-3
30
2955
1690
210
340
295
60
1576
1376
550
470
100
80
5-50
≤0.2
HXG450-3
37
2955
1870
305
310
246
60
1720
1560
550
470
100
80
3-50
≤0.2
HXG475-3
55
2960
2135
330
360
276
60
1985
1825
600
520
125
100
5-80
≤0.2
注:表中流量范围是指介质为“水”时测定的数据。
  如采用循环工艺,建议与间歇式高剪切分散乳化机配合使用。
  如有高温、高压、易燃、易爆、腐蚀等工况,必须明确提供相关准确的参数,以便正确选型定制。
  对流动性较差的介质,建议在入口处用流量相匹配的泵输送,泵入的压力≤0.2MPa。
  本表数据如有更改,恕不另行通知,正确参数以提供实物为准。
  粘度每增加1000mPax,标称的物料流量将减少20%。
  在粘度为3000mPas左右时必须泵入。
  所用的泵应尽可能连续泵入。
  使用泵输入时,必须考虑到分散机的功耗。
  物料流量较小时,必须注意观测温度,考虑在输入端安装泵以增加流量。
Copyright(C)2008-2010 启东市华兴乳化混合设备厂 All Rights Reserved.
地址: 江苏省启东市汇龙镇合兴村115号(车管所西侧) 乳化机 管线式乳化机
  电话: 0513-83103330 传真: 0513-83357632 手机: 18602177088
邮箱: hx@hxhhsb.com 网址: www.hxhhsb.com